gs-500.de  

Zurück   gs-500.de > GS500(E/F) > Vergaser - Kraftstoff - Drosseln - Tuning

Hinweise

Antwort
 
Themen-Optionen
Alt 12.10.2020, 12:16:51   #1
ODB
Neuer Benutzer
 
Registriert seit: 04.08.2020
Ort: Oldenburg
Beiträge: 2
Baujahr: 91
Standard Vergaser Pumpe ?

Moin ausm Norden,

ich habe gerade meine Bastelhure 92er GMB51A in Angriff genommen und mir ist
aufgefallen das unter der Batterie eine Art Pumpe sitzt die mit dem Vergaser verbunden ist.
Bei meiner 98er ist diese Pumpe nicht verbaut im Netz konnte ich dazu nicht wirklich etwas finden braucht man das Teil oder kann ich das weglassen wie bei meiner 98er?

Viele Grüße
Bastian
Miniaturansicht angehängter Grafiken
Klicke auf die Grafik für eine größere Ansicht

Name:	0C652359-C919-4CB6-857B-471751885796.jpg
Hits:	859
Größe:	96,0 KB
ID:	29811   Klicke auf die Grafik für eine größere Ansicht

Name:	3A58E111-3CFA-4224-83C7-154C62BD1127.jpg
Hits:	852
Größe:	107,6 KB
ID:	29812  
ODB ist offline   Mit Zitat antworten
Alt 12.10.2020, 13:40:06   #2
AmigaHarry
Erfahrener Benutzer
 
Benutzerbild von AmigaHarry
 
Registriert seit: 13.11.2005
Ort: Perchtoldsdorf
Alter: 64
Beiträge: 5.312
Kilometer: 1.1mio
Standard

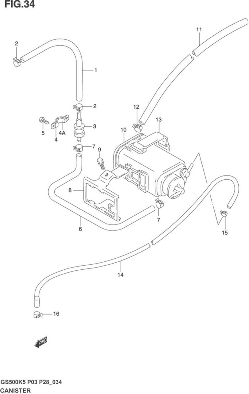
Ist die Abluftrückführung für das kalifornische Modell (bei den GSen gibts keine Pumpen). Hast wohl einen Grauimport......
Miniaturansicht angehängter Grafiken
Klicke auf die Grafik für eine größere Ansicht

Name:	Canister.jpg_0005.jpg
Hits:	823
Größe:	53,6 KB
ID:	29813  
AmigaHarry ist offline   Mit Zitat antworten
Alt 12.10.2020, 15:54:32   #3
ODB
Neuer Benutzer
 
Registriert seit: 04.08.2020
Ort: Oldenburg
Beiträge: 2
Baujahr: 91
Standard

Ok cool danke für die Info ����
Kann ich das Teil denn einfach weglassen und die Schläuche wie bei der EU Version anschließen bzw ich habe gesehen das der vergaser unten noch 2 Anschlüsse mehr hat als mein anderer

Hab gerade den Thread dazu gefunden in dem du schreibst das der ganze Rums ruhig weg kann.
ODB ist offline   Mit Zitat antworten
Alt 12.10.2020, 16:34:39   #4
AmigaHarry
Erfahrener Benutzer
 
Benutzerbild von AmigaHarry
 
Registriert seit: 13.11.2005
Ort: Perchtoldsdorf
Alter: 64
Beiträge: 5.312
Kilometer: 1.1mio
Standard

Ja, kann man weg lassen. Denke kaum das jemand beim TÜV sowas auffällt - noch dazu weils eh sowieso (fast) keiner kennt....
AmigaHarry ist offline   Mit Zitat antworten
Alt 13.10.2020, 08:21:29   #5
3y3joe
Erfahrener Benutzer
 
Registriert seit: 31.08.2015
Ort: Sinsheim
Beiträge: 894
Baujahr: 1993
Kilometer: 105000
Standard

Das Teil hatte meine GS auch mal ursprünglich, war aber beim Kauf schon weggebaut und hat nie jemals nen Kittel gestört.
Die wissen garnicht dass es sowas gab
3y3joe ist offline   Mit Zitat antworten
Antwort

Lesezeichen


Forumregeln
Es ist dir nicht erlaubt, neue Themen zu verfassen.
Es ist dir nicht erlaubt, auf Beiträge zu antworten.
Es ist dir nicht erlaubt, Anhänge hochzuladen.
Es ist dir nicht erlaubt, deine Beiträge zu bearbeiten.

BB-Code ist an.
Smileys sind an.
[IMG] Code ist aus.
HTML-Code ist aus.

Gehe zu

Ähnliche Themen
Thema Autor Forum Antworten Letzter Beitrag
Gabelüberholungs - Gabel"pumpe" Dichtring svaniTopel Fahrwerk 3 06.02.2021 21:22:31
Vergaser-Hauptdüsen für Mikuni-Vergaser Suzuki GS 500 U (K4) gs500_ef Vergaser - Kraftstoff - Drosseln - Tuning 5 02.03.2013 17:53:11
Bremsanlage(obere teil -> Pumpe+Hebel) Räder, Reifen und Bremsen 3 01.05.2004 18:30:51


Alle Zeitangaben in WEZ +1. Es ist jetzt 04:34:16 Uhr.


Powered by vBulletin® Version 3.8.9 (Deutsch)
Copyright ©2000 - 2026, vBulletin Solutions, Inc.